
Jia Yueting wants to use live streaming to pay off debts? Only gained 14,000 followers in 8 days, FF has lost 29.3 billion in ten years

賈躍亭成立新公司 “成長吧奮鬥者”,旨在通過直播帶貨償還個人債務和支持 FF 造車。新公司由 10 多位合夥人共同組建,賈躍亭持股 17%。他將新公司 10% 股份贈予 FF,個人收益一半用於 FF,另一半用於償還債務。儘管已啓動相關項目,但新公司在社交媒體上的粉絲增長緩慢,僅 8 天漲粉 1.4 萬。
想要靠直播帶貨償還個人債務的賈躍亭,可能又要落空。
近日,賈躍亭在個人微博宣佈再創業,將成立一家全球 IP 商業化公司 “成長吧奮鬥者”。這是繼 Faraday Future(中文名:法拉第未來,以下簡稱 “FF”)之後,賈躍亭創立的又一商業品牌。
據介紹,賈躍亭的新公司由全球 10 多位合夥人共同組建,其中賈躍亭持股 17%。而成長吧奮鬥者的核心業務是圍繞視頻及直播電商商業化、相關品牌衍生品的商業化、知識賦能、廣告及推廣、會員&訂閲、短劇等開展業務。發展目標是助力中國優質產品和領先模式拓展全球海外市場同時支持美國商家將海外優質產品、領先品牌和知名 IP 引入中國市場。
為何再度創辦一家新公司?賈躍亭的解釋是為了幫助 FF 繼續造車所需資金和償還個人國內債務。
對此,賈躍亭將新公司 10% 的股份贈予 FF,使得 FF 成為成長吧奮鬥者的最大股東。其個人在新公司獲得的所有收益,一半將注資到 FF,另一半用於繼續清償國內債務。賈躍亭還表示,他個人投資 FF 獲得的收益,未來也主要用於還債。並表示還債回國是他後半生必須要完成的事情,希望此舉能幫助他儘快清償債務,早日回國。

據悉,新公司已經以賈躍亭這一 IP 為核心,已在與美國明星商談並推動合作方案,力圖儘快啓動首個直播電商商業化項目。但截至 10 月 17 日,距離賈躍亭宣佈成立新公司已過去 8 天。時代財經注意到,成長吧奮鬥者賬號粉絲漲幅不盡如人意。目前微博粉絲不足 400 人,抖音粉絲量也只有 1.4 萬人。
8 天僅漲粉 1.4 萬
成長吧奮鬥者抖音賬號顯示,其所屬公司名稱是 “成長奮鬥者網絡科技(北京)有限公司”。公開資料顯示,該公司成立於 2024 年 6 月 6 日,註冊地址位於北京市海淀區,法定代表人是張莘鑫,註冊資本為 1 萬元人民幣。
成長吧奮鬥者抖音和微博賬號的 IP 屬地均顯示在美國,這表明其運營團隊位於美國。這和 FF 的情況類似。FF 在中國也設立一家名為 “法法汽車(中國)有限公司” 的中國公司,該公司 2023 年參保的員工總數僅有 9 人,企業規模屬於小型。時代財經向 FF 中國詢問造車進展時,對方回覆表示 “進展都在美國那邊,可以關注一下美國那邊的傳播”。這表明 FF 的傳播運營也多由美國團隊負責。
而瞄準直播電商的新公司目前進展也不順利,抖音起號 8 天僅積累 1.4 萬粉絲,賬號商品櫥窗中此前有的 199 件商品也已被清空。據封面新聞報道,一名頭部 MCN 機構從業人員表示,從側面看已經算起號失敗,且賈躍亭設計的帶貨模式只是 “空殼”,預計成功可能性不大。
成長吧奮鬥者最大的 IP 是賈躍亭。賈躍亭個人賬號在微博和抖音分別擁有超過 1500 萬和超 160 萬粉絲量,在造車領域僅次於小米雷軍。
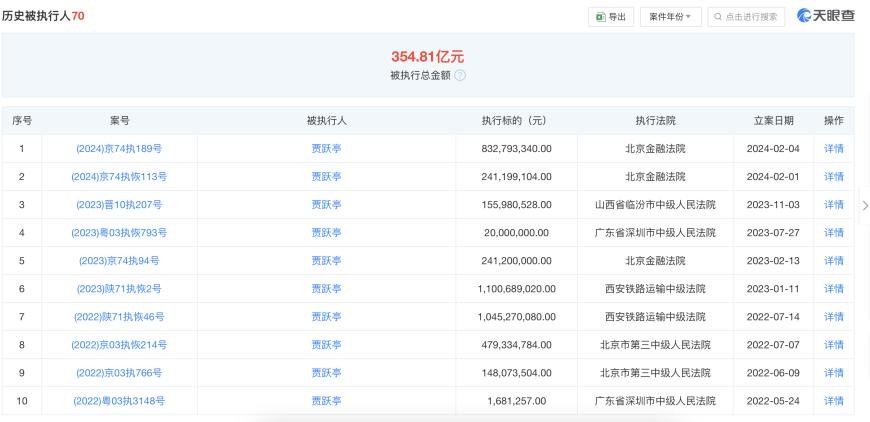
雖然近 2000 萬的粉絲量讓賈躍亭看到了變現前景,但通過直播電商變現,公眾信任度是首要考量因素。這一方面無疑是賈躍亭的短板。天眼查顯示,目前顯示的賈躍亭失信被執行人次數為 3 次,歷史失信被執行人次數為 24 次。而歷史被執行人次數多達 70 次,累計被執行總額高達 354.81 億元。公眾信任度透支嚴重的賈躍亭,恐難打動人們購買他推薦的商品。

FF 目前正在面臨交付難和缺乏資金的雙重挑戰,直播帶貨為造車提供的支持恐怕非常有限。
FF 長期危機待解
2024 年二季度財報顯示,今年 4-6 月,FF 營收僅為 29.3 萬美元,但淨虧損高達 1.09 億美元。自 2014 年成立以來,FF 已經累計虧損 41.154 億美元(約合人民幣 293 億元),截止目前僅交付 13 輛新車,其中 2023 年交付 10 輛,2024 年上半年僅交付 2 輛。而 2024 年上半年 FF 淨虧損達 1.57 億美元(約合人民幣 11.2 億元)。算下來上半年每交付一台車就虧損高達 0.785 億美元(約合人民幣 5.6 億元)。
FF 目前面臨的主要困境是缺錢。財報顯示,截止二季度末,FF 賬面總資產約為 4.58 億美元,總負債約為 3.09 億美元,淨資產約為 1.49 億美元。運營活動所用現金減少至只有 2910 萬美元,期末現金流僅 137.7 萬美元。
如果照此事態發展,FF 將會陷入命懸一線的境地。事實上今年 5 月 29 日 FF 公佈全年財報時就警告稱公司或永遠無法盈利。雖然賈躍亭 5 月 31 發佈視頻駁斥了這一説法,表示自己和 FF 承認公司永遠無法盈利並不屬實,並堅信 FF 可能成為更早實現盈利的公司之一。賈躍亭也發佈視頻稱導致 FF 出現危機的直接原因是資金問題,而根本原因是信心和信任的問題。
今年以來,除了長期存在的資金問題外,FF 最大的危機是面臨退市危機。股價低於 0.1 美元以來,FF 多次收到納斯達克的信函,給出其退出資本市場的意見。
對此,賈躍亭今年多數時間都在為保住 FF 上市資格而努力,用他的話形容是 “夢想保衞戰”。截止美東時間 10 月 17 日,FF(代碼:FFIE)股價保持在 2 美元以上,總市值約為 2800 萬美元左右。但 FF 目前的市值,距離 2021 年 7 月 22 日 “借殼上市” 當天收盤市值 45.11 億美元,還相差甚遠。
FF 之所以得以保住上市資格,主要得益於賈躍亭一邊講故事、一邊融資的能力。9 月 6 日,FF 發文表示公司從中東、美國和亞洲成功獲得了 3000 萬美元的融資承諾。當天賈躍亭也發佈微博表示,收到了納斯達克確認,FFIE 正式重獲上市合規,今年以來的退市風險終於消除,夢想保衞戰終於收官。
值得一提的是,在保住 FF 的上市資格和獲得融資後,一份監管備案文件顯示,FF 創辦人賈躍亭的年薪從 45 萬美元增加到 68 萬美元,漲薪超過 50%,並且獲得 50 萬美元的一次性認可獎金、81.6 萬美元的年度酌情目標獎金,以及兩筆總價值超過 400 萬美元的年度股票獎勵。
長期來看,擺在 FF 面前的交付難、需求不足以及資金問題等長期危機仍待解。
