
張坤、蕭楠同日現身豬企,“基金一哥” 新動作,勤吃肉,少喝酒?

年內多次組團調研生豬行業
一直以來,易方達基金因為率先長期看好,長期重倉白酒行業,經常被投資者調侃。但近期,易方達基金的關注圈明顯擴大。
近日,易方達的兩位明星基金經理張坤、蕭楠各自現身頭部豬企温氏股份和牧原股份,而在此之前,易方達已 “組團” 調研了十多次相關行業的公司。
這是否會是 “公募一哥” 們下一步的關注重點,值得關注。
張坤首次現身温氏股份
7 月 26 日,繼調研海康威視之後,張坤又 “馬不停蹄” 的參與了養豬企業温氏股份的調研,和其一起的,還有南方基金、前海開源、明達資產等 28 家實力機構。(見下圖)

和安防龍頭相比,隸屬於週期股的温氏股份,不光在調研陣容上相差甚大,此前也從未被張坤關注過。這次 “突襲”,或許值得關注。
公開資料顯示,最新中報數據顯示,張坤的重倉股仍集中在白酒、醫藥、科技等行業,而截至 2020 年年報,其全部持倉中也並未出現過相關行業的公司,甚至連上下游的飼料公司、肉類食品公司都基本沒有出現。
值得一提的是,張坤在業內不算是調研最頻繁的基金經理,他每年的公開調研頻次大概在 5 次左右。
但張坤調研的聚焦性很好。不少個股調研之後,都有成為標的的機會。而雖然是週期行業研究員出身,但張坤自 “出道” 起,就很少關注相關領域。近三年來,張坤更是從未調研過豬企,也沒有重倉買入了。
不過,在二季報中,張坤曾表示,醫藥、消費、科技、新能源等熱門板塊估值偏貴,風險較大,後續預期收益率降低。而不那麼擁擠的行業,稍微犧牲一些概率,承擔多一點不確定性,或許能獲得更佳的賠率回報。
這次在温氏股份的現身,是否意味着張坤開始在不那麼 “擁擠” 的週期板塊,拓展能力圈?仍需觀察。
易方達基金多次 “組團” 調研
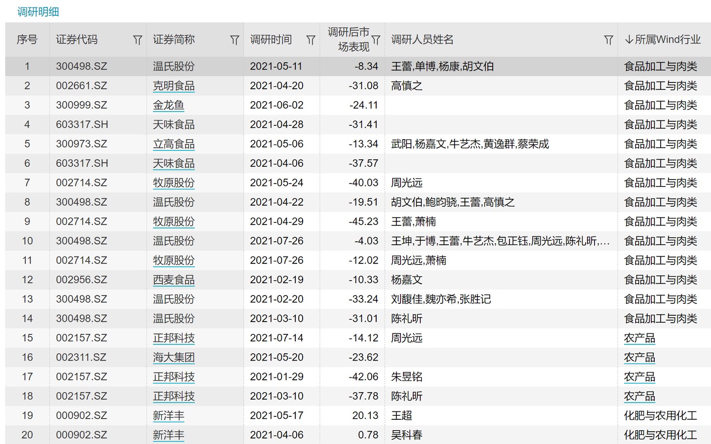
而除了明星基金經理調研,其實早在今年年初,易方達基金就有基金經理和研究人員 “組團” 調研相關行業的公司。截至 7 月 29 日,已調研了近 20 次,共 10 家上市公司,相比 2020 年全年僅調研了 18 次,關注度有所提升。
其中,温氏股份在被張坤關注之前,總計被易方達團隊調研了 4 次,也是相關行業中被調研次數最多的一家公司,其中更是有 3 次調研都是 3 人以上的組合 “出擊”。
此外,還有牧原股份、立高食品、天味食品等食品加工與肉類行業公司、正邦科技、海大集團等農產品行業公司,以及新洋豐等化肥公司等,在今年被易方達基金關注過。(見下圖)

這一變化,加上張坤首次現身温氏股份,不禁人思考,“公募一哥” 是否開始改喝酒,為吃肉了?
蕭楠同日現身牧原股份
而易方達另一位明星基金經理蕭楠同日調研牧原股份,或許給 “公募一哥” 易方達吃肉的推論,也增添了一點可信度。
7 月 26 日,備受關注的牧原股份發佈調研者名單,易方達蕭楠現身其中,此外,還有南方基金、高毅資管、景林資產、正心谷、淡水泉等 34 家知名機構一同出席。(見下圖)

牧原股份從 2017 年中報就出現在蕭楠旗下基金的十大重倉股中,且有 11 個季度都是蕭楠旗下基金的重倉標的。截至今年中報,牧原股份仍以 4.11% 的佔基金淨值比例,成為蕭楠的第六大重倉股。(見下圖)

不過,雖然重倉了牧原股份,但蕭楠對其的調研並不算積極。從 2019 年至今,這次還是蕭楠第二次現身牧原股份的調研名單,而除了 7 月 26 日的這次,蕭楠還在今年 4 月 29 日,參與過公司的調研。
養豬業務受關注
實際上,今年以來,生豬產業的走勢並不算理想。Wind 統計數據顯示,今年以來,畜禽養殖指數下跌超過 24%,豬產業指數更是下跌了近 30%。
同時,受豬價下跌的影響,近期豬企披露的 “期中成績” 普遍不佳,目前市值最高的四家豬企牧原股份、温氏股份、新希望和正邦科技中,僅牧原股份實現盈利,其餘三家相比去年均由盈轉虧。
而根據調研紀要顯示,對於豬企,機構比較關注的問題也主要是養豬業務的變化等。
對此,温氏股份表示,為了應對豬週期影響,公司主要通過五種方式做了相關的準備,一是,比行業早半年控制資本開支;二是,公司現有庫存現金充裕,融資渠道豐富;三是,4 月份成功發行可轉債,募集了 92.97 億元;四是,上半年已籌備較多資金,確保資金安全;五是,公司現有包括美元債、公司債、中期票據、超短融、商業銀行綜合授信等各類融資工具剩餘額度充足。
另外對於產能問題,温氏股份回應稱,對於之前提到的今年肉豬出欄目標為 1200 萬頭,明年目標為 2000 萬頭的這個計劃,暫時沒有變化。另外,公司育種供種能力逐漸恢復,在豬週期下行、行業大量淘汰低效母豬的背景下,公司初步規劃年底高質量能繁母豬約 130 萬頭,高質量後備母豬約 80 萬頭。
此外,機構也普遍關心河南暴雨對牧原股份的影響,以及養豬業務的變化。牧原股份表示,據初步統計,目前直接財產損失約 1000 萬元。生豬及財產都有購買相關保險,後續會根據理賠條款啓動相關程序。
對於近期豬價跌幅較大,牧原股份回應稱,豬價下滑對於資本開支計劃有一定的影響,公司從 3-4 月份開始就對工程建設和採購進行調整。明年出欄量相較今年會有所增長,具體的增長幅度看下半年母豬的增長速度。
另外,在生豬的週期底部判斷上,牧原股份認為,判斷週期底部的具體時間,意義不大。目前,公司已經發現成本高的場區及導致成本高原因,當下的主要工作是針對成本高的區域,重點採取措施提升管理,加強環境控制,降低成本。同時,根據外部環境及生產經營情況做好現金流管理,保證生產經營現金流安全。
