
估值百億!IDG 注資,户用光伏逆變器 “全球一哥” 古瑞瓦特赴港 IPO

三年營收翻三倍。
隨着“雙碳” 目標迫在眉睫,新能源行業被一次次地推向整個中國經濟的風口浪尖,且有一浪高過一浪的趨勢。
一面是下游應用需要減排——電動汽車景氣度空前高漲,一面是上游生產需要清潔——光伏、風電也不甘示弱。
在這樣的背景下,一家光伏輔產業鏈的龍頭廠商準備赴港上市。三年營收翻3 倍,這家公司可謂是把增長速度演繹到了極致。
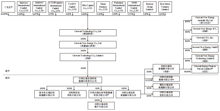
6 月 24 日,深圳古瑞瓦特科技能源有限責任公司(Growatt Technology Co., Ltd,簡稱:古瑞瓦特)向港交所遞交招股書,擬於香港主板上市,瑞信和中金公司為聯席保薦人。
截至上市前,古瑞瓦特的創始人兼董事長丁永強通過ESunyT Capital 和 ETshine Capital 分別持有公司 37.49%、25.60% 的股份,合計持股63.09%,為公司的實際控制人。兩大員工持股平台分別持股6.67%、4.46%。
值得注意的是,今年6 月 6 日 IDG 資本向古瑞瓦特注資 9 億元,相應獲得 6.52% 的股份。以此交易對價計算,古瑞瓦特IPO 前的估值約為 138 億元。
全球户用光伏逆變器排名第一,市場份額19.9%
隨着全球加快了向零碳經濟轉型的步伐,光伏作為可持續能源家族的重要成員獲得了長足發展。
目前,家庭及工商業終端用户的太陽能滲透率已合計從2017 年的 4.1% 增至 2021 年的 10.6%,並預計將於2026 年進一步增至 27.0%;同期全球新增光伏裝機容量從97 千兆瓦增至 175 千兆瓦,年複合增長率達 21.1%。
“陽光化電” 並不是一個小工程,需要經歷從硅粉原料、電池到組件和電站的過程,這也是光伏的主產業鏈。
光伏逆變器是光伏發電系統的重要部件之一,能將太陽能電池板的可變直流電輸出轉換為可供使用的公用頻率交流電。儘管只佔光伏電站造價的5%,卻是整個光伏系統的核心,屬於光伏輔產業鏈的一員。

此外,由於太陽能是一種間歇性能源,發電功率波動會給電網系統帶來衝擊。這就需要儲能系統來消納和抑制波動,從而實現削峯填谷、提升發電效率的目的。
近年來,光伏逆變器市場呈現出兩個新特點:
其一,隨着分佈式需求持續提升,組串式逆變器逐漸代替集中式成為主流,微型逆變器的比例也日益提升。

分佈式能源是相對於集中式供能的能源系統而言的,指分佈在用户端的、能根據用户需求和資源配置狀況進行系統整合優化的新型能源系統。舉例而言,排放的廢氣廢熱和城市屋頂的太陽能都是分佈式系統利用的對象。
相比於傳統的集中式能源,分佈式具有能效利用合理、損耗小、運行靈活等優點。這也是為什麼2021 年分佈式光伏發電在新安裝光伏發電的份額達 45.4%,較 2017 年增加了 9.3 個百分點。
其中,組串式逆變器採用模塊化設計,體積小、重量輕,主要用於中小型屋頂光伏發電系統,小型地面電站。微型逆變器的配置則更加靈活,一般只適用於屋頂家用。
其二,户用光伏迎來爆發式增長。2021年中國新增户用裝機21.59GW,同比增長113.3%,佔 2021 年全部新增光伏裝機的39.4%,呈現出爆發增長之勢。
這對於專注分佈式光伏發電且以户用光伏逆變器產銷為主要業務的古瑞瓦特而言,無疑是不小的機遇。
在全球整個光伏逆變器的大行業中,古瑞瓦特擁有6.8%的市場份額,次於華為和陽光電源兩個“大哥”。
然而,以2021 年户用光伏逆變器出貨量計,公司則是全球最大的户用光伏逆變器提供商,市場份額為19.9%,其下分別是陽光電源、錦浪科技,華為屈居第四。
此外,在儲能逆變器的細分領域,古瑞瓦特也把握到了行業風口。以 2021 年出貨量計算,古瑞瓦特的用户側儲能逆變器市場份額為 13.8%,位居全球第一。
持續打磨產品,積極佈局銷售渠道
2019-2021 年,公司分別實現營業收入 10.01 億元、18.93 億元和 31.95 億元,2020 年和 2021 年的同比增幅分別為 89.1% 和 68.7%。
如此強勁的業績增幅,是與公司的產品創新及渠道擴張分不開的。
作為逆變器領域的光伏龍頭,古瑞瓦特的“智慧能源管理解決方案” 主要包括三大產品:
一是光伏逆變器。公司通過創新半導體及控制技術,在提高逆變器額定功率的同時減輕設備重量,從而降低運輸及安裝成本。目前,公司户用逆變器的最大能量轉換效率超過98.4%,僅有華為的產品與之接近,處於全球領先水平。

二是儲能系統,主要涉及其中的電池逆變器和電池包,並將其作為一個統一系統來運行,以此提高安裝、運行和維修的效率。
三是智能充電樁和智慧能源管理系統。前者為户外用電尤其是汽車充電而設計,後者是一個集成了光伏逆變器、電池包、熱水器等物聯網設備的系統,可以通過大數據實現智能控制。
根據招股書,公司的主要產品是光伏逆變器,三年來分別貢獻了89.9%、86.1% 和 77.1% 的營收。此外,公司也在積極擴張儲能系統業務,2021 年該項收入佔比達到 21%。
由於逆變器具有較強的To C 屬性,渠道建設是企業的核心競爭力之一。根據銷售對象的不同,具體的銷售模式可以分為集成、安裝模式和分銷渠道兩種。
對於前者,公司的終端客户即為手握光伏項目的系統集成商或安裝商。這也是行業的主要銷售模式。
對於後者,公司通過分銷商來鏈接終端客户、提升區域市場的滲透度。分銷渠道的開拓週期很長,客户粘性和相應的溢價也很高,隨着户用光伏的發展將發揮越來越重要的作用。
為此,古瑞瓦特也在積極佈局分銷渠道,三年來分別新增分銷商28 家、23 家和 33 家,來自分銷商的收入佔比也從2019 年的 10% 增加到 2021 年的 13.2%。
截至上市前,公司已經與超10700 名系統集成商、安裝商、分銷商及終端客户達成了合作,產品覆蓋 150 多個國家和地區,近兩年來自美洲的收入佔比急劇上升。
值得注意的是,公司的客户集中度呈現上升趨勢,2019 至 2021 年來自前五大客户的收入分別佔總收入的 21.9%、29.6% 及 39.7%,其中最大客户分別貢獻了 8.6%、9.1% 和 20.5% 的營收。
這位“最大客户” 是一家總部位於巴西的公司,業務結構與古瑞瓦特類似,從 2020 年開始佔據公司的客户收入榜首。據悉,巴西的政策支持推動了銷往巴西乃至整個美洲地區的逆變器收入大幅增長。
大幅拓展海外業務,利潤率總體提升
2019-2021 年,公司的毛利率分別為 30.4%、38.7% 和 35.8%。從銷售成本的組成來看,毛利率的變化主要與原材料成本、運輸成本、製造費用和勞工成本相關。
作為跨境光伏廠商,古瑞瓦特及其他逆變器企業毛利率的重要特點是外銷毛利率遠高於內銷毛利率。主要有兩大原因:
成本端方面,中國人工及製造成本較低,加上大部分原材料均已實現國產化,市場競爭較為充分,原材料成本也不高。
價格端方面,由於海外逆變器市場相對成熟,產品價格僅是考慮因素之一,產品質量、品牌及服務均是客户選擇供應商的重要參考。如此一來,海外市場準入壁壘和品牌壁壘都較高,盈利能力也相對較強。
因此,當古瑞瓦特在2020 年提高海外客户的業務比例時,毛利率立即較前一年增加了 8.3 個百分點。
不過,2020 年的疫情導致全球航運緊張、運輸成本增加,同時半導體等原材料產能緊缺、市價上漲,加之人民幣升值的影響,2021 年公司毛利率下降了近 3 個百分點。
雖然海外業務存在匯率、政治等方面的風險,但總體而言,積極拓展海外業務仍是中國光伏逆變器企業的不錯選擇。
不僅如此,古瑞瓦特的毛利率相比於同行來説也頗具競爭力,2021 年在幾大主要光伏逆變器廠商中位居前列。
2019 至 2021 年,公司的淨利潤分別為 9245.4 萬元、3.66 億元和 5.73 億元,同期淨利率分別為 9.2%、19.3% 和 17.9%,總體保持增長。
受益於營收基數的快速增加,公司的“三費” 比例總體有所下降。與同行業相比主要有以下兩個特點:
第一,研發投入處於中等水平。2021 年公司的研發費用率為 5.6%,高於陽光電源和錦浪科技,低於固德威和上能電氣。不過,公司在研發投入的擴張上還是相當快的,兩年翻了近 2 倍。
第二,銷售投入較高。2021 年公司的銷售費用率為 8.1%,高於所有同行業可比公司。實際上,古瑞瓦特在 2019 年的銷售費用率高達 13.7%,隨着收入的增長這一比例才有所下降。
總體來看,業務擴張是公司盈利的重要基礎,而這一點古瑞瓦特走得比同行更好。無論是近三年營收復合年增速還是海外營收復合年增速都超越同行,後者更是突破了100%。
不過,高速擴張的背後並非沒有隱憂——公司的存貨金額大幅攀升,從2019 年的 2.47 億元飆升至 2021 年的 11.46 億元,佔總資產的比重達到 36.6%,存貨週轉天數也從120 天提升至 145 天。
存貨的急劇增長不僅佔用了企業資金,還產生了較高的減值風險。對此,招股書也在“風險提示” 中有所説明。
對於本次IPO 募集的資金,古瑞瓦特將用於新建和擴建現有的生產設施及設備、投資核心技術及產品線的開發升級、推動全球銷售渠道並深耕全球本土化戰略。
這與行業擴張與盈利的實現邏輯整體相符。
展望未來,在新能源行業整體景氣度高漲的情況下,若公司能在進一步擴張市場的同時控制營運風險和存貨增加風險,將有望收穫更大的增長空間。
